一、概述

空气输送斜槽是一种用于输送干燥粉状物料的气力输送设备。在水泥工业中常用于输送水泥和生料粉。空气输送斜槽在输送物料中因为、没有转动部件,易于维护,密封性好,无噪音,操作安全可靠,耗电少,改变输送方向方便,并能多点喂料和多点卸料而得到广泛的应用。空气输送斜槽的主要构件是透气层,空气输送斜槽采用PETS-6(涤纶)型合成纤维织物,是一种新型透气型,它具有耐高温(可达

二、技术性能
输送物料:含水量≤1%,温度≤
输送能力:输送水泥及生料成品时的输送能力如下表所列:
三、技术参数
代号
规格
XZ200
XZ250
XZ315
XZ400
XZ500
XZ630
XZ800
槽体宽度
m m
200
250
315
400
500
630
800
输 送 能 力
a=4°
水泥
T/h
22
40
70
130
220
320
400
生料
16
30
55
100
165
245
310
a=6°
水泥
40
65
120
250
400
610
765
生料
30
55
90
185
300
455
565
a=8°
水泥
50
80
140
300
470
720
900
生料
35
65
110
225
355
540
670
a=10°
水泥
60
100
170
380
570
900
1080
生料
45
80
140
285
425
670
800
a=12°
水泥
70
120
205
455
685
1080
1295
生料
50
95
165
340
510
805
960
槽体节长
标准节
m m
2000
非标准节
m m
250
需要风压
KPa
4-5.5
需要风量
m3/m2.min
1.5-2
透 气 层
材质
合成纤维
厚度
m m
4-6
耐温
℃
150
径向断裂强度
N/cm宽
4700
阻力
Pa
800-1200(在2m3/m2.min条件下)
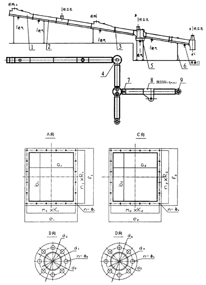
a1
b1
e1
f1
m1×R1
n1×R1
n-Φ1
型号
Ⅰ型
Ⅱ型
Ⅰ型
Ⅱ型
Ⅰ型
Ⅱ型
Ⅰ型
Ⅱ型
Ⅰ型
Ⅱ型
Ⅰ型
Ⅱ型
Ⅰ型
Ⅱ型
XZ200
120
200
120
150
210
280
210
230
2×86
4×63
2×86
3×66
8-Φ14.5
14-Φ12
XZ250
150
250
150
200
240
330
240
280
3×70
4×70
3×70
3×83
12-Φ14.5
14-Φ12
XZ315
150
250
150
250
240
330
240
330
3×70
4×75
3×70
4×75
12-Φ14.5
16-Φ12
XZ400
150
315
150
315
240
395
240
395
3×70
5×73
3×70
5×73
12-Φ14.5
20-Φ12
XZ500
200
400
200
400
290
480
290
480
3×88
6×75
3×88
6×75
12-Φ14.5
24-Φ12
XZ630
200
500
200
500
290
580
290
580
3×88
7×79
3×88
7×79
12-Φ14.5
28-Φ12
代号
a2
b2
e2
f2
m2 × R2
n2 × R2
N - Φ3
d1
d2
d3
n-Φ2
d4
d5
d6
n- Φ 4
型号
XZ200
206
206
286
286
3 × 82
3 × 82
14 - Φ12
108
152
188
4 - Φ 12
Φ130
Φ160
Φ190
6 - Φ 12
XZ250
256
256
336
336
4 × 75
4 × 75
16 - Φ12
108
152
188
4 - Φ 12
Φ135
Φ170
Φ205
6 - Φ 12
XZ315
321
321
401
401
5 × 73
5 × 73
20 - Φ12
260
225
260
6 - Φ 12
Φ190
Φ225
Φ260
8 - Φ 12
XZ400
406
406
486
486
6×75
6×75
24-Φ12
315
280
315
8-Φ12
Φ245
Φ280
Φ315
8-Φ12
XZ500
506
506
586
586
7×79
7×79
28-Φ12
340
305
340
8-Φ12
Φ270
Φ305
Φ340
8-Φ12
XZ630
638
638
738
738
8×86
8×86
32-Φ
405
370
405
12-Φ12
Φ355
Φ395
Φ435
12-Φ12


















