水泥储存库
销售热线: (0)189 0627 1888 联系人: 胡先生 传真: 0513-8844 8088
一、 概述
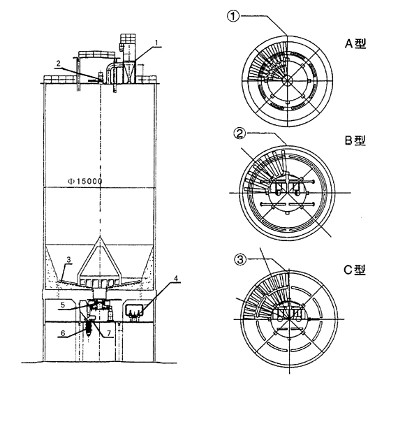
水泥储存库是在库底中心位置设一锥形混合室,以降低库内的卸料压力,消除漏斗流。混合室设8-12个进料孔,在混合室和库壁之间的环形区设有8-12个充气区,卸料时轮流向相对的环形小区充气,使部分水泥流向中心混合室。在自上而下的流动过程中,切割水平料层而产生重力混合作用,进入混合室后又因混合室内的连续充气搅拌而进一步均化。这种库的均化值可达5-9。电耗0.15-0.30kwh/t。
二、水泥储存库示意图

三、 Φ
|
序号 |
名称及规格 |
数量 |
单位 |
|
1 |
气箱式脉冲收尘器PPC32-4 风机:9-26No8D |
1 |
套 |
|
2 |
库顶进料系统 |
1 |
套 |
|
3 |
库底、库内充气系统 |
1 |
套 |
|
4 |
双六咀空气分配阀2-Φ500 |
1 |
台 |
|
5 |
库底卸料阀系统 |
2 |
套 |
|
6 |
库底散装机 ZSQ300/600 |
1 |
台 |
|
7 |
罗茨风机MJL200b风量: |
1 |
台 |
上一页:[均化系列]
下一页:连续式均化库
关键字:水泥储存库
产品别名:
相关产品:水泥储存库


















